
O empuxo de solo é uma força lateral que depende de fatores como o parâmetro de resistência ao cisalhamento do solo retido, a inclinação da superfície do aterro, a altura e a inclinação do maciço. Os empuxos de solo podem ser ativos, passivos ou em repouso.
Segundo Braja e Sobhan (2010) antes de ocorrer a ruptura do solo, ocorre o equilíbrio plástico do solo, o qual refere-se a uma condição em que o maciço de solo está no limite de ruptura. Quando a contenção pode se mover gradualmente devido as solicitações do solo, a tensão principal horizontal diminui. Dessa forma, Rankine (1857) estabeleceu um coeficiente de empuxo que relaciona a tensão efetiva horizontal e a tensão efetiva vertical.
O empuxo ativo ocorre quando a estrutura de contenção é gradualmente empurrada pelo maciço de solo, onde diminui a tensão horizontal efetiva e ocorre a ruptura do solo. De forma simplificada, o empuxo ativo é a força que o solo exerce sobre uma estrutura para derruba-la. No empuxo passivo, por sua vez, quando a estrutura é empurrada para o maciço ocorre o aumento da tensão horizontal efetiva até que se atinja o equilíbrio plástico, e por fim a ruptura. A Equação 1 expressa os coeficientes de empuxo.

A Tensão horizontal fica então definida pelo produto da tensão efetiva e do coeficiente de empuxo, adicionando ainda uma parcela que pode ser somada ou subtraída referente a coesão. A dedução dessas equações ocorre por meio de semelhança de triângulo no Circulo de Mohr, utilizando a equação da tensão de cisalhamento do solo. De forma direta e resumida quando o empuxo for ativo essa parcela será negativa e quando for empuxo passivo a parcela será positiva, conforme Equação 2.

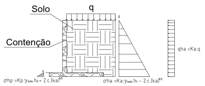
Assim como a tensão efetiva aumenta com a profundidade, o empuxo de terra (tensão horizontal) também aumenta. Dessa forma, pode-se analisar como tensão triangular que começa em 0, na crista de uma estrutura de contenção, por exemplo, e termina no valor da tensão horizontal daquela profundidade (Figura 1). Entretanto, quando a estrutura tiver alguma sobrecarga além do solo (q), a sobrecarga também deverá ser analisada como tensão horizontal, aplicando o coeficiente de empuxo. Caso a base da estrutura esteja enterrada, a base a esquerda do maciço será mobilizado na ação do empuxo, gerando uma tensão passiva que também começa em 0 e termina no valor da tensão horizontal passiva. A Figura 1 ilustra as tensões com sobrecarga sobre um muro de arrimo.

Há ainda a possibilidade do maciço apresentar uma certa inclinação contínua (alfa) no topo da contenção, conforme a Figura 2. Nesse caso os coeficientes de empuxo ativo e passivo sofrem modificações na sua formulação, devido o ângulo de aplicação da força. A Equação 3 apresenta os coeficientes para maciço inclinado. Nesse caso, a força resultante estará aplicado a H/3 da base do maciço, mas com a mesma inclinação alfa.


Esse artigo foi útil para você? Compartilhe esse artigo para que outras pessoas entendam esse conceito da Geotecnia. Se tiver dúvidas, deixe nos comentários que elas serão respondidas!
Siga nas redes sociais abaixo para acompanhar nosso trabalho!
Fontes:
DAS, B.M; SOBHAM, K; “FUNDAMENTOS DE ENGENHARIA GEOTÉCNICA“. 8º Edição. California: Cengage Learning, 2010
HUMES, C. “NOTAS DE AULA DA DISCIPLINA DE MECÂNICA DOS SOLOS“. São Bernardo do Campo, 2015.



BOAS LISSOES, GOSTEI MUITO
CurtirCurtir